
TKEFX Blade Hauler
The EFX Extendable trailer is designed to accommodate a variety of wind turbine blade sizes, styles, and lengths. Its narrow, double-telescopic, mono-frame main and low-profile gooseneck keep the overall dimensions to a minimum. Today’s extra-long blades can be maneuvered while in transit or at the job site with hydraulic turntable-style steering.
Literature
Specifications
Videos
Literature
The literature and image assets in this tab are digital assets, best for viewing online. To request print literature or media, please contact your District Sales Manager.
Specifications

Standard Equipment
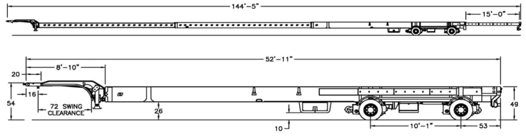
| EFX – Standard Equipment | 70EFX | 85EFX |
|---|---|---|
| Capacity | 70,000 lbs. | 85,000 lbs. |
| Overall length (closed) | 53’ | 53’ |
| Overall length (open) | 144’ 5” (including pull-out) | 158’ (173’ including pull-out) |
| Gooseneck length (detachable, low profile) | 8’10” | 9’ 2” |
| 5th wheel height | 49” | 49” |
| Width | 8’ 6” | 8’ 6” |
| Axles | 2 | 3 |
Videos
Related Products














